亿倍科大型仪器预约共享系统旨在解决大型科研仪器资源分散、利用率低、管理难度大等问题,为科研机构、高校等用户提供仪器在线预约、使用管理、数据监控等一体化服务,实现仪器资源的高效共享与精细化管理。
点击空白处退出提示
亿倍科大型仪器预约共享系统旨在解决大型科研仪器资源分散、利用率低、管理难度大等问题,为科研机构、高校等用户提供仪器在线预约、使用管理、数据监控等一体化服务,实现仪器资源的高效共享与精细化管理。
大型仪器共享预约管理系统可实现大型科研仪器共享、预约、授权、监控、送样、计费和考试等管理功能,对接融合校园一卡通、财务及资产等系统数据,基于标准接口开放与第三方系统对接(如国家大仪平台)功能,实时上报相关数据。
(一)订单模块开发
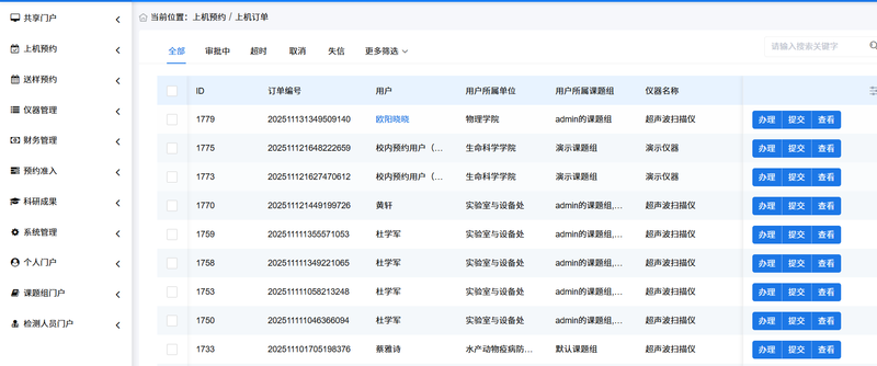
订单模块是系统核心业务模块之一,涵盖仪器预约下单、订单状态管理、费用计算、订单查询统计等功能,直接关系到用户使用体验与系统业务流转效率。
(二)工作流模块开发
工作流模块主要实现系统中各类业务流程的自动化流转,如订单审核流程、仪器故障报修流程、用户资质审核流程等,通过可视化配置降低流程管理难度,提升业务处理效率。
1.工作流引擎设计:设计轻量级工作流引擎,支持流程节点、流转条件、处理角色的可视化配置,管理员可通过后台界面拖拽式创建或修改业务流程,无需代码开发即可实现流程变更。
2.核心功能实现:开发流程实例创建功能,当用户发起订单预约、故障报修等操作时,系统自动根据预设流程创建流程实例,并将任务分配给对应处理角色;实现任务提醒功能,通过 Websocket 技术实时推送待处理任务至相关用户,同时支持短信、站内信等多渠道提醒,确保任务及时处理;开发流程跟踪功能,用户与管理员可实时查看流程当前节点、处理人、处理时间等信息,了解业务进展。
3.流程扩展性优化:设计流程插件机制,支持为不同流程节点添加自定义业务逻辑(如订单审核节点的费用计算逻辑、故障报修节点的维修人员派单逻辑),提升工作流模块的扩展性;针对复杂流程的分支条件,采用表达式解析器支持动态条件判断(如 “订单金额大于 1000 元时需部门经理二次审核”),满足多样化业务场景需求。
(三)硬件对接模块开发
1.硬件协议分析与对接方案设计:深入研究各硬件设备的通信协议(如海康设备的 SDK协议、门禁系统的 RS485 协议、仪器猫硬件的 MQTT 协议),针对不同硬件的通信特点,设计统一的硬件对接接口层,屏蔽不同硬件的协议差异,为上层业务提供标准化调用接口。





评论